Sony Takes Gaming Health Seriously with New Patent for Posture and Injury Prevention
We can see that gaming’s popularity has grown over time, mainly because gaming devices are becoming more widely available to the general public. However, as fun as it may be, sitting in front of a screen for extended periods of time can lead to various health problems, including poor posture, back pain, and repetitive strain injuries.
For years now, game manufacturers have been focused on making devices that are comfortable to use and prevent injuries, such as repetitive strain injury (RSI). Now, Sony has taken it a step further with a new patent aimed at helping gamers maintain healthy posture and prevent injuries.

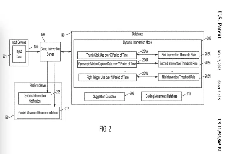
The patent filed by Sony Interactive Entertainment aims to ensure that players are using correct posture and not performing too many repetitive motions while gaming. The patent also intends to recommend breaks to players, stretches, and other interventions to prevent injury.
According to the patent’s abstract,
A game intervention server may evaluate, based on learning models, posture, and physical motions for players for repetitive, unbalanced, or excessive motions, as well as gameplay quality patterns, and compare to thresholds for identifying unhealthy conditions.”
The importance of posture cannot be overstated, as prolonged periods of sitting in one position without healthy posture can lead to back pain and spinal injuries, which in many cases are not easy to treat. The patent aims to remind players to sit up straight and not lean heavily in their seats, helping them avoid those sorts of problems.
The patent would help gamers maintain healthy posture via motion capture, mainly by examining the motions made during gameplay on a controller that the system can use to deduce that a player is making use of repetitive movements or is exhibiting bad posture.

Repetitive movements or improper positioning of the body (mainly fingers in case of a controller) may result in stress injuries or other detrimental physiological effects. Hand injuries like “gamer’s thumb” may be due to repetitive strain on the thumb’s tendons and may lead to inflammation, pain, and limited movement.
Other similar problems can happen when the back isn’t straight and the arms and legs are in the same position for a long time, which can lead to poor blood flow.
Even though it’s unclear when or how this patent might be implemented, it’s encouraging to see Sony caring about their users’ well-being. One way is to make games in a way that the user doesn’t have to press the same button over and over again. However, again this may not be possible in games such as Tekken or FIFA.
This isn’t the first time we are seeing something like this, as in the past, several other patents were filed by Sony. They wanted to make different devices that would help gamers act in a healthier way. Perhaps, we’ll get to witness something similar in the near future. This is all we know for now, and so we will make sure to keep you updated as new information becomes available.





